dxy logo
首页丁香园病例库全部版块
搜索
登录

中国实验方剂学-理论探讨录用分享

中西医结合医学医学生 · 最后编辑于 2022-10-09 · 来自 Android · IP 山西山西
6126 浏览
这个帖子发布于 3 年零 95 天前,其中的信息可能已发生改变或有所发展。

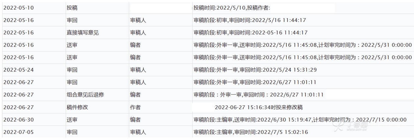
配伍相关的理论探讨,之前被某科核退了,完善了一下逻辑构架后转投了方剂学挂了一个院级基金,编辑老师很温柔,可以适当催一下

img
51 7 12

全部讨论(0)

默认最新
avatar
51
分享帖子
share-weibo分享到微博
share-weibo分享到微信
认证
返回顶部